替尔泊肽减重适应症国内报上市;康方第 5 款新药报上市;石药、中国生物制药财报出炉;第九批集采…
据 Insight 数据库统计,本周(8 月 20 日—8 月 26 日)全球共有 42 款创新药(含改良新)研发进度推进到了新阶段,其中 2 款获批上市,2 款申报上市,14 款获批临床,7 款申报临床。
下文中,Insight 将以新药国内进展、新药海外进展、行业热点动态为线索,分别摘取国内外部分重点项目做介绍。篇幅较长,可选择性阅读。
国内创新药进展
国内部分,本周共有 41 款创新药(含改良新)研发进度推进到了新阶段,其中 2 款获批上市,2 款申报上市,11 款获批临床,11 款申报临床。
除此之外,本周政策、药企方面也都有颇多重要动态,国内药企如石药、中国生物制药、复宏汉霖等的半年报释放,第九批国家集采、国谈初步形式审查名单、附条件批准工作方案的修订……都值得关注。
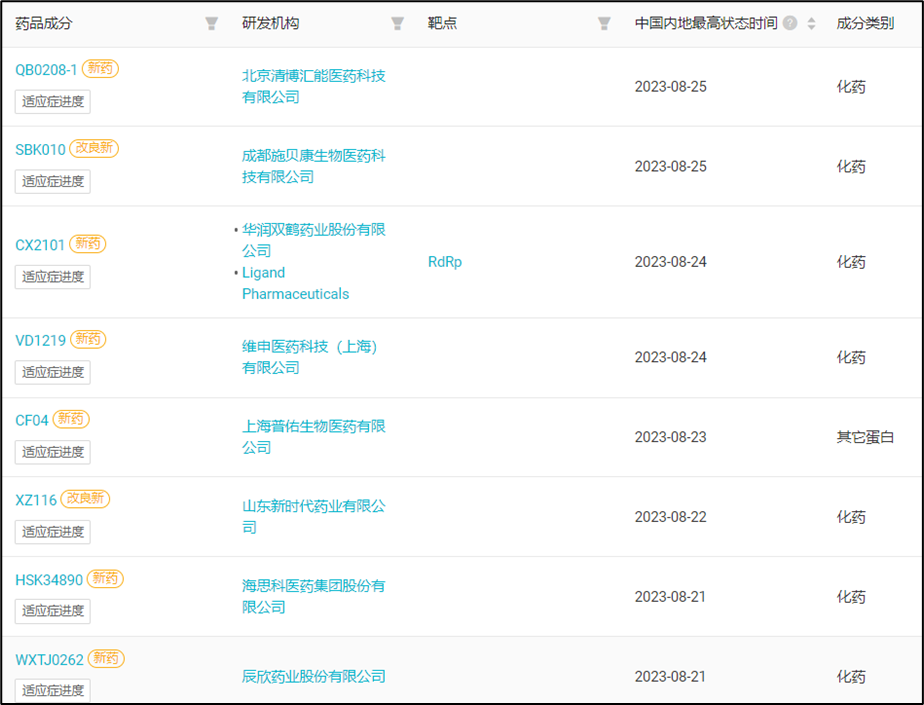
本周国内首次启动临床的 8 款创新药(含改良新)

截图来自:Insight 数据库网页版 (下文如无特殊标注,为同一来源)
获批上市
1、诺华制药:半年一次强效降脂!PCSK9 siRNA 国内获批
8 月 22 日,诺华宣布 PCSK9 siRNA 疗法 Inclisiran 获得 NMPA 批准上市,作为饮食的辅助疗法,用于治疗成人原发性高胆固醇血症(杂合子型家族性和非家族性)或混合型血脂异常患者,商品名为乐可为。
Inclisiran(研发代号:KJX839)是诺华以 97 亿美元收购 TMC 获得的一种靶向 PCSK9 长效 RNAi 降脂药,每年仅需皮下注射给药两次即可有效地降低血液循环中低密度脂蛋白 LDL-C 的水平,达到降低血脂的效果。
相较于目前上市的 PCSK9 靶向抗体药和他汀类降脂药每两周一次或每月一次的给药频率,Inclisiran 在患者依从性方面有着独一无二的治疗优势。
Inclisiran 此前已在欧美获批上市:
2020 年 12 月在欧洲获批上市,用于治疗成人原发性高胆固醇血症(杂合子家族性和非家族性)或混合型血脂异常。
2021 年 12 月在美国获批,用于治疗动脉粥样硬化性心血管疾病(ASCVD)。
此前诺华披露的 ORION 系列研究显示,对于使用最大耐受剂量的 LDL-C 降低疗法后 LDL-C 水平仍高于目标值的患者。与安慰剂组相比,接受治疗 Inclisiran 治疗的患者 LDL-C 从基线至第 510 天的平均降幅可达 50%~52% 。
ORION-10、ORION-11 研究结果

截图来自:Insight 数据库网页版
对于慢性疾病的管理而言,给药频率降低带来的依从性提高是极大的优势,而这正是 siRNA 的优势领域。此外从靶点论,PCSK9 靶点在既往的单抗药物之上,从给药频率优化的角度有半年一次的 Inclisiran 出现,从给药方式的角度有默沙东的口服药 MK0616,可以说是群星云集,热闹非凡。
2、罗氏制药:「托珠单抗」皮下注射剂型国内获批上市
8 月 24 日,据 NMPA 官网显示,罗氏托珠单抗注射液(皮下注射)新适应症在国内获批上市(受理号:JXSS2200037)。
据罗氏新闻稿,本次获批适应症为:单药治疗对一种或多种改善病情抗风湿药物(DMARDs)既往治疗应答不充分或不耐受,以及对甲氨蝶呤(MTX)应答不充分或不耐受 MTX 治疗的成人中度至重度活动性类风湿关节炎(RA)患者。
此前,于 2022 年 4 月,托珠单抗皮下注射剂型已在国内获批上市,与甲氨蝶呤(MTX)或其它 DMARDs 联用治疗中到重度活动性类风湿关节炎成年患者。
此外,在国内,托珠单抗静脉注射制剂当前已获批用于治疗类风湿关节炎、全身型幼年特发性关节炎和 CAR-T 细胞引起的细胞因子释放综合征适应症。
相较于静脉注射,托珠单抗皮下注射使用更方便,患者可实现居家自行注射,同时可快速完成推注,节省更多治疗时间。 新药申报上市
1、强生制药:BCMA/CD3 双抗国内报上市,拟优先审评
8 月 21 日,CDE 官网显示,强生制药的 BCMA × CD3 双特异性抗体特立妥单抗(Teclistamab)在国内的上市申请已获受理,并被纳入优先审评程序,单药用于既往接受过至少三种治疗(包括一种蛋白酶体抑制剂、一种免疫调节剂和一种抗 CD38 单克隆抗体)的复发或难治性多发性骨髓瘤(MM)成人患者。
Teclistamab 在去年 10 月 25 日获 FDA 批准在美国上市,商品名为 Tecvayli。这是一款双抗皮下注射剂,在依从性方面具备优势。值得一提的是,这也是强生的第 4 款多发性骨髓瘤疗法,强生在这一领域可以说是深入布局到极致。
Teclistamab 的 FDA 批准是基于 I/II 期临床试验 MajesTEC-1 研究(试验登记号:NCT04557098,NCT03145181)。这是一项单臂、开放标签、多队列、多中心剂量递增研究,以 ORR 为主要终点。关键 II 期试验纳入既往接受过中位治疗线数五线治疗的患者(n=110),其中 78% 的患者都接受过四线及以上治疗。总缓解率(ORR)达到 61.8%(95% CI:52.1%,70.9%),其中 28.2% 的患者完全缓解(CR)或严格完全缓解(sCR)。首次响应中位时间为 1.2 个月(范围:0.2 - 5.5 个月)。中位随访 7.4 个月,预估的 6 个月持续缓解(DOR)率为 90.6%(95% CI:80.3%,95.7%),9 个月 DOR 率为 66.5%(95% CI:38.8%,83.9%)。而后在今年 6 月,强生又公布了 MajesTEC-1 研究的 22 个月更长期数据:

截图来自:Insight 数据库网页版
强生已经获批的四款多发性骨髓瘤药物中,CD38 单抗达雷妥尤单抗算是超级重磅炸弹了,2022 年全球销售额仍达到 79.77 亿美元(+32.44%);2023 上半年依然卖了 46.95 亿美元(+22.2%)。CAR-T 疗法西达基奥仑赛尽管 22 年 2 月刚刚获批,但大有后来居上之势,还在高速放量期。
达雷妥尤单抗上市后年度销售额趋势

截图来自:Insight 数据库Teclistamab 为强生的多发性骨髓瘤产品组合补充了重要的「弹药」,形成组合优势,相互协同进而更多覆盖到多发性骨髓瘤的各线治疗和各不同条件的人群。
2、康方生物:第 5 款商业化新药「依若奇单抗」申报上市、「依沃西单抗」纳入优先审评
8 月 23 日,CDE 官网显示,康方生物的重组人抗 IL-12/IL-23 p40 单克隆抗体「依若奇单抗」申报上市获受理(受理号:CXSS2300069)。
依若奇单抗是一款自免领域新药,根据其临床试验开展情况,本次报上市的适应症大概率为此前处于 III 期临床研发中的银屑病适应症。
同时值得一提的是,这已经是康方申报上市的第 5 款创新药。在已获批的 PD-1 单抗派安普利单抗和 PD-1/CTLA-4 双抗卡度尼利单抗之后,今年 6 月,康方递交了 PCSK9 伊努西单抗(AK102)的上市申请;8 月,接连递交了 PD-1/VEGFA 依沃西单抗(AK112)、IL-12/IL-23 p40 依若奇单抗(AK101)的上市申请,新药管线商业化快马加鞭。

截图来自:CDE 官网
Insight 数据库显示,AK101 于 2016 年 11 月 21 日首次申报临床,2018 年 3 月首次启动临床试验。

截图来自:Insight 数据库网页版(http://db.dxy.cn/)
当前 AK101 启动了 3 项银屑病关键 III 期临床,且已经完成。

截图来自:Insight 数据库网页版
肿瘤、自免、代谢始终是药品销售额榜单上的三巨头,当前新任药王已经交棒给肿瘤免疫领域的王者 K 药,而前任药王正是针对自免疾病的修美乐,下一任药王业内多认为将来自代谢领域。康方的新药管线布局和当前已申报的新药,正覆盖了这些领域,并不断加速推进。
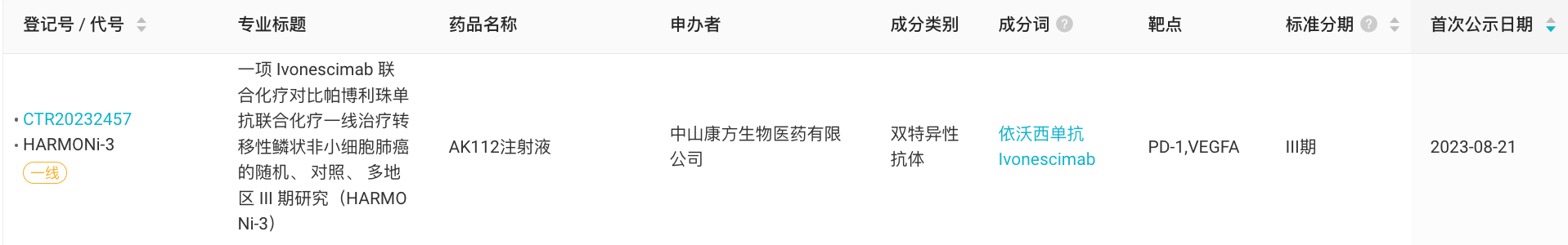
同样在本周,康方的 PD-1/VEGF 双抗依沃西单抗注射液(AK112)的上市申请也被纳入优先审评,联合培美曲塞和卡铂用于经 EGFR 酪氨酸激酶抑制剂(EGFR-TKI)治疗后进展的 EGFR 突变的局部晚期或转移性非鳞非小细胞肺癌的治疗(受理号:CXSS2300061)。优先审评程序意味着其上市进程能得到进一步加快。
AK112 是一款 PD-1/VEGF 双特异性抗体,在 2022 年 12 月与 Summit Therapeutics 达成协议以 50 亿美元总额实现 License out 交易,罕见高额引起行业震动。5 亿美元首付款已于今年上半年兑现,大部分已被确认为约 29 亿人民币许可费用收入,使康方上半年利润达到 23 亿元之高。
新适应症申报上市
1、礼来制药:「替尔泊肽」减重适应症国内报上市
8 月 21 日,CDE 官网显示,礼来制药 GLP-1R/GIPR 双重激动剂替尔泊肽注射液的一项新适应症在国内申报上市(受理号:JXHS2300079/80/81/82)。
替尔泊肽此前已经在美国、欧洲、日本获批上市治疗 2 型糖尿病,在这些地区,该药的减重适应症也正处于上市申报当中。
国内的首个上市申请同样针对 2 型糖尿病,于 2022 年 9 月获受理,目前仍在审评中;而本次申报的适应症为:用于在低热量饮食和增加运动基础上改善成人肥胖或伴有至少一种体重相关合并症的超重患者的长期体重管理。
替尔泊肽自上市以来势不可挡。其放量速度远大于包括度拉糖肽、司美格鲁肽在内的其他同领域上市产品。去年 9 月才刚上市,今年上半年就已经大卖 15.48 亿美元,进入全球药品销售额 TOP100 榜单,直接空降 50 位,这还是在潜力更不容小觑的肥胖、心衰等代谢适应症未上市的情况下。
替尔泊肽初上市放量速度对比

截图来自:礼来 2023Q2 季报资料
Tirzepatide 用于成人长期体重管理适应症的注册申请是基于 26 项 tirzepatide 临床研究结果,其中包括中国肥胖或超重注册临床试验 SURMOUNT-CN。
SURMOUNT-CN (NCT05024032) 是一项多中心、随机、双盲、平行、安慰剂对照的 III 期临床研究,研究纳入肥胖 (BMI≥28 kg/m²) 或伴有至少一种合并症的超重 (BMI≥24 kg/m²) 的中国成人患者,旨在低热量饮食和增加运动的基础上对比 tirzepatide 与安慰剂在体重减轻方面的有效性和安全性。
研究入组了 210 名中国患者 (基线体重均值为 91.8 kg、BMI 均值为 32.3 kg/m²),以 1:1:1 的比例随机分组,分别接受 tirzepatide 10 mg 或 15 mg 或安慰剂每周一次治疗。共同主要终点为在 52 周时 tirzepatide(10 mg 和/或 15 mg) 相较于安慰剂在体重的变化百分比和达到体重减轻 ≥5% 的患者比例方面的优效性。SURMOUNT-CN 达到主要终点和所有关键性次要终点,该试验中 tirzepatide 的总体安全性与先前试验报道相似,未发现新的安全性信号。
共同主要终点结果显示,治疗 52 周时, tirzepatide 10 mg 和 15 mg 治疗组体重自基线的平均变化百分比分别为 -14.4% 和 -19.9%,优效于安慰剂组 (-2.4%);tirzepatide 组 (10 mg,91.4%;15 mg,92.7%) 达到体重减轻 ≥5% 的患者比例优效于安慰剂组 (29.4%)。此外,tirzepatide 组 (10 mg,48.6%;15 mg,72.1%) 达到体重减轻≥15% 的患者比例也优效于安慰剂组 (2.9%)。
Tirzepatide 的总体安全性与已知的 GLP-1 受体激动剂相似,最常见的不良反应为轻度至中度胃肠道不良反应,主要发生在剂量递增期,随持续给药而降低,绝大多数患者可耐受并坚持治疗。SURMOUNT-CN 的结果将于今年 10 月在欧洲糖尿病研究协会(EASD)学术年会上公布。
当前据 Insight 数据库显示,替尔泊肽已经公布了 5 项肥胖症关键临床试验积极结果:SURMOUNT-1~4,和针对中国人群的 SURMOUNT-CN。
替尔泊肽已公布结果的减重关键临床试验

截图来自:Insight 数据库网页版
2、恒瑞医药:「氟唑帕利」新适应症申报上市
8 月 22 日,恒瑞发布公告宣布氟唑帕利的新适应症上市申请获受理,拟用于治疗晚期上皮性卵巢癌、输卵管癌或原发性腹膜癌患者在一线含铂化疗达到完全缓解或部分缓解后的维持治疗。
本次上市申请是基于一项氟唑帕利或氟唑帕利联合甲磺酸阿帕替尼对比安慰剂用于晚期卵巢癌一线含铂化疗后维持治疗的随机、双盲、安慰剂对照、多中心 Ⅲ 期临床研究(登记号:NCT04229615),该研究由中国医学科学院肿瘤医院吴令英教 授担任主要研究者,全国 54 家中心共同参与。
研究的主要终点为由盲态独立影像评审委员会(BIRC)根据 RECISTv1.1 标准评估的无进展生存期(PFS),次要研究终点包括研究者评估的 PFS、无化疗间期(CFI)、至疾病再次进展/死亡时间(PFS-2)、总生存期(OS)和安全性等。
研究随机对照阶段共入组 674 例受试者,按照 2:2:1 随机入组的比例随机分配至氟唑帕利单药组、氟唑帕利联合阿帕替尼组或安慰剂组接受维持治疗,直至疾病进展、毒性不可耐受或其他需要终止治疗的情况。
近日,由独立数据监查委员会(IDMC)判定主要研究终点的期中分析结果达到方案预设的优效标准,研究结果表明,氟唑帕利单药用于晚期上皮性卵巢癌、输卵管癌或原发性腹膜癌患者在一线含铂化疗达到完全缓解或部分缓解后的维持治疗,可显著延长患者的无进展生存期。
氟唑帕利是一种聚腺苷二磷酸核糖聚合酶(PARP)抑制剂,可特异性杀伤 BRCA 突变的肿瘤细胞。此前已获批两项适应症:
2020 年 12 月,氟唑帕利胶囊获批用于既往经过二线及以上化疗的伴有胚系 BRCA 突变 (gBRCAm) 的铂敏感复发性卵巢癌、输卵管癌或原发性腹膜癌患者的治疗;
2021 年 6 月,获批用于铂敏感的复发性上皮性卵巢癌、输卵管癌或原发性腹膜癌成人患者在含铂化疗达到完全缓解或部分缓解后的维持治疗。
截至公告之时,氟唑帕利相关项目累计已投入研发费用约为 78,309 万元。
3、恒瑞医药:JAK1 抑制剂新适应症申报上市
8 月 24 日,据 CDE 官网显示,恒瑞艾玛昔替尼(SHR0302)新适应症申报上市(受理号:CXHS2300071)。
此前,在今年 6 月,艾玛昔替尼已申报上市了一项适应症(受理号:CXHS2300052),当前正处于审评中,推测适应症为特应性皮炎。
据 Insight 数据库显示,艾玛昔替尼除已完成一项针对特应性皮炎的 III 期临床外,还在开展 5 项分别针对斑秃、类风湿关节炎、溃疡性结肠炎、银屑病关节炎以及放射学阴性中轴型脊柱关节炎的 III 期临床研究。
艾玛昔替尼 III 期临床试验

来自:Insight 数据库网页版
据 Insight 数据库显示,艾伯维的乌帕替尼自 2019 年获批上市之后,2022 年度全球销售额已经迅速增长至 25.22 亿美元。
乌帕替尼全球销售额趋势

来自:Insight 数据库网页版
而在国内,目前已经获批上市的 JAK 抑制剂们均为进口药。同属于 JAK1 高选择性抑制剂,艾伯维的乌帕替尼和辉瑞的阿布昔替尼已在国内获批特应性皮炎适应症。
针对国产药,除恒瑞艾玛西替尼外,国产 1 类新药杰克替尼(泽璟生物)于去年 10 月申报上市,首发适应症为骨髓纤维化,针对特应性皮炎、斑秃以及强直性脊柱炎也启动了相应 III 期临床。
4、荣昌生物:「泰它西普」新适应症报上市
8 月 22 日,荣昌生物宣布,已完成了泰它西普(RC18 ,商品名:泰爱®)在中国治疗(RA)患者的 III 期研究,获得了相关数据结果,并于近日向中国国家药品监督管理局药品审评中心(CDE)递交了新药上市申请(NDA)。
这是一项随机、双盲、安慰剂对照、多中心的 III 期临床试验,共入组 479 例患 者 。根据全分析集(FAS)结果显示,第 24 周时,接受泰它西普(160 mg)联合甲氨蝶呤治疗患者的 ACR20 应答率显著高于接受甲氨蝶呤单药治疗的患者,达到试验主要疗效终点。根据该结果,荣昌于近期向 CDE 递交了新药上市申请。
泰它西普(RC18, 商品名 :泰 爱®)是荣昌生物研发的用于治疗自身免疫性疾病的新型融合蛋白,由人跨膜激活剂及钙调节剂和亲环蛋白配体相互作用因子(TACI)受体的胞外域以及人免疫球蛋白 G(IgG)的可结晶片段(Fc)域构成。
泰它西普靶向两类对 B 淋巴细胞发育至关重要的细胞信号分子:B 淋巴细胞刺激因子 (BLy S) 和增殖诱导配体 (APRIL),得以有效降低 B 细胞介导的自身免疫应答,自身免疫应答与多种自身免疫性疾病有关。
该产品已于 2021 年 3 月正式获得 NMPA 在中国的附条件上市的批准,用于治疗系统性红斑狼疮(SLE),并于当年被中国国家医疗保障局(NHSA)纳入更新后的国家医保目录(NRDL)。
荣昌正就泰它西普用于治疗自身免疫性疾病领域的其他多种适应症开展 II 期 或 III 期临床试验,试图解决该治疗领域大量未满足或未充分满足的医疗需求。
泰它西普全球项目开发在研甘特图

截图来自:Insight 数据库网页版
申报/启动临床
1、康方生物:AK112 启动 K 药头对头 III 期临床国内部分,一线 sq-NSCLC
8 月 21 日,据 Insight 数据库显示,康方在国内启动一项 AK112 联合化疗对比帕博利珠单抗联合化疗一线治疗转移性鳞状非小细胞肺癌的 III 期临床 HARMONi-3 试验(登记号:CTR20232457)。

来自:Insight 数据库网页版(下同)
不过,早在今年 6 月,康方就在 ClincalTrials.gov 上登记启动了该项研究(登记号:NCT05899608),本次启动的是国内部分。
针对一线治疗鳞状非小细胞肺癌(sq-NSCLC),康方还在同时开展一项头对头替雷利珠单抗的注册性 III 期 AK112-306 临床,8 月 18 日,康方刚宣布该项研究已完成首例给药。
目前,AK112 在国内已经有 1 项新药上市申请获得国家药品监督管理局受理(受理号:CXSS2300061),在全球范围内已启动/正在开展另外 4 项关键注册性 III 期临床试验,除以上提及的两项研究外,另有:
AK112 对比帕博利珠单抗单药一线治疗 PD-L1 表达阳性的 NSCLC 的关键注册性 III 期临床研究(中国,AK112-303 研究);该适应症已获 BTD 认定。
AK112 联合化疗用于经第三代 EGFR-TKI 治疗进展的 EGFR 突变、局晚期或转移性非鳞状 NSCLC 的国际多中心 III 期临床研究(HARMONi/AK112-301 研究);该适应症已获 BTD 认定。
AK112 III 期临床试验(部分)

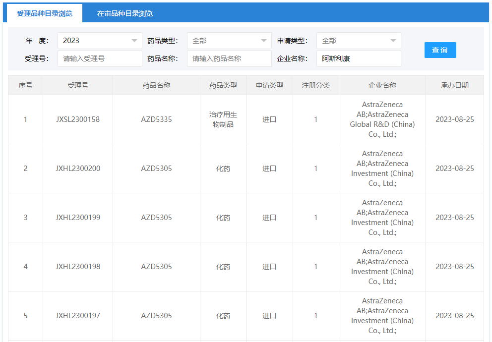
2、阿斯利康:FRα ADC 国内申报临床
8 月 25 日,CDE 官网显示,阿斯利康的 FRα ADC 新药 AZD5335 首次在国内申报临床(受理号:JXSL2300158)。
这是阿斯利康自研 ADC 平台开发的第 3 款临床阶段新药,今年初在 ClinicalTrials.gov 已登记一项 I/II 期临床试验,单药或联用 PARP1 选择性抑制剂 AZD5305 治疗实体瘤,试验代号为 FONTANA。其拟开展地点也包括中国内地,从 CDE 的申报信息来看,本次临床申请大概率对应着该项研究的中国部分。

截图来自:CDE 官网
AZD5335 在今年 AACR 上以 Late Breaking Poster(LBP)的形式首次亮相。其 DAR 值为 8,载荷与阿斯利康的前两款 ADC 药物相同,为 TOP1 抑制剂(TOP1i)AZ14170132。AZD5335 通过将 TOP1i 毒性载荷递送至表达 FRα 的肿瘤细胞,继而引发 DNA 损伤,杀伤肿瘤细胞,同时具有旁观者效应。

截图来自:阿斯利康官网资料
据阿斯利康介绍,2.5mg/kg 的 AZD5335 在表达 FRα 的卵巢癌细胞异体移植(CDX)可提供强劲持久的抗肿瘤效应,带来 75% - 94% 的肿瘤生长抑制(TGI),在 14/17(82%)的卵巢癌患者异体移植模型(PDX)中观察到中位最佳肿瘤体积减小 >30%。
FRα 的表达水平与疗效呈现相关性,但 AZD5335 在靶标低表达肿瘤模型(IHC 2+)中同样有效,因而有望为不能从已上市微管抑制剂(MTI)ADC 中获益的患者带来新的治疗方案。
ADC 是阿斯利康深度布局的领域之一。在合作第一三共的 Enhertu 和 Data-DXd 之后,还引进了国内康诺亚和礼新医药的 2 款 ADC 新药(GPRC5D ADC,LM-305;CLDN18.2 ADC,CMG901),此外自研平台也已有 3 款 ADC 在临床开发当中。
境外创新药进展
境外部分,本周共有 8 款创新药(含改良新)研发进度推进到了新阶段,其中 1 款获批上市,6 款获批临床。
获批上市
辉瑞:RSV 疫苗新适应症获 FDA 批准上市
8 月 22 日,辉瑞宣布,美国 FDA 已批准该公司的二价呼吸道合胞病毒(RSV)疫苗 Abrysvo(RSVpreF)的一项新适应症,通过将疫苗注射至怀孕 32 至 36 周妇女以产生主动免疫的方式,用于预防出生至 6 个月婴儿由 RSV 引起的下呼吸道疾病(LRTD)和严重 LRTD。
这款疫苗最初在今年 5 月获批,用于预防 60 岁及以上成人由 RSV 引起的急性呼吸道疾病和下呼吸道疾病。而本次的适应症拓展,据辉瑞表示,也是 FDA 首次批准孕妇注射疫苗用于保护出生 6 个月内的婴儿免受由 RSV 引起的下呼吸道疾病。
Abrysvo 是根据美国国立卫生研究院(NIH)所建立的 RSV 融合前(prefusion)F 蛋白晶体结构所制造,不含佐剂。此融合前蛋白为 RSV 病毒用以进入人体细胞 F 蛋白的主要形态。NIH 的研究显示靶向此融合前蛋白形态可以有效阻断病毒感染。此双价疫苗含有等量、分别来自 A 与 B 病毒亚型的重组 RSV 融合前 F 蛋白。
美国 FDA 这次的批准主要是基于关键性 3 期临床试验 MATISSE 的数据,MATISSE 是一项随机双盲、安慰剂对照的 3 期研究,旨在评估疫苗在孕期接种的健康个体所生婴儿中抗 RSV 所致 LRTD 和严重 LRTD 的有效性、安全性和免疫原性。这些结果于 2023 年 4 月发表在 NEJM 上。
试验共入组近 7400 名孕妇,在妊娠 24-36 周时接受疫苗或安慰剂单次肌肉注射。分析显示,试验达到了其两个主要终点之一,在出生后 90 天和 180 天减少需要医疗护理的 RSV 相关严重下呼吸道疾病方面的有效率分别为 81.8%(99.5% CI:40.6-96.3)和 69.4%(97.58% CI:44.3-84.1)。安全性方面,MATISSE 试验中未发现对母亲和 ≤24 个月婴孩的安全信号。
重要临床结果
罗氏 TIGIT 单抗一线 NSCLC III 期临床试验 OS 结果披露
8 月 23 日,罗氏制药针对 TIGIT 单抗 Tiragolumab 联用 PD-L1 单抗一线治疗 PD-L1 高表达 NSCLC 的 III 期临床试验 Skyscraper-01 研究提供了一项数据更新。
在第二次中期分析中,主要终点总生存期(OS)尚未成熟,Tiragolumab + Tecentriq 组的预估中位 OS 为 22.9 个月(95% CI:17.5,NE),而 Tecentriq 单药组的中位 OS 则为 16.7 个月(95% CI:14.6,20.2),风险比(HR)为 0.81(95% CI:0.63, 1.03)。
第二次中期分析发生于今年 2 月,数据截至 2022 年 11 月,中位随访时间为 15.5 个月。数据也显示,Tiragolumab + Tecentriq 联合疗法安全可耐受,在向 Tecentriq 疗法加入 Tiragolumab 后无新的安全信号。
该试验目前仍在进行中,未对研究者与患者揭盲。罗氏将继续这项研究,直至完成 OS 最终分析;同时,所有其他 Tiragolumab 临床项目仍将继续按计划进行。

截图来自:罗氏制药官网
罗氏的 Tiragolumab 也是全球首款进入临床 III 期的 TIGIT 单抗。其临床研究始于 2016 年度,此前已登记 49 项临床试验,其中包括 8 个 III 期临床,针对三大癌种:NSCLC、SCLC、食管鳞癌和肝细胞癌。
作为首个 TIGIT 单抗,Tiragolumab 的一举一动备受关注。22 年其小细胞肺癌和非小细胞肺癌两项 III 期临床先后宣布未达到 PFS 主要终点,为 TIGIT 靶点新药研发披上一盆冷水,不过故事尚未结束。2023 ASCO 公布的肝癌 II 期结果为其开辟了新的道路,III 期临床随之启动。
同时,针对 NSCLC 的 III 期 SKYSCRAPER-01 研究(也就是本次更新结果的关键临床试验)OS 结果的释放,将是决定 Tiragolumab 在肺癌领域命运的关键数据,备受各方关注。
SKYSCRAPER-01 是针对初治 PD-L1 高表达局部晚期、不可切除或转移性 NSCLC 的随机、双盲、全球多中心 III 期临床,考察 Tiragolumab 联用 PD-L1 单抗阿替利珠单抗(Tecentriq®)的疗效和安全性。此前据罗氏临床里程碑披露,2023 年度或将公布 SKYSCRAPER-01 试验最终分析结果,同时伴随 OS 结果的出炉。如今虽然提早披露了信息,最终结果仍值得期待。
Tiragolumab

截图来自:罗氏 2022 研发日
此外值得关注的 III 期临床结果还包括 SKYSCRAPER-08 研究。这项临床在中国境内入组了 362 例患者,主要指标完成日期在今年 2 月,临床结果释放大概率也将在年内发生。据罗氏财报,Tiragolumab 食管鳞癌首项上市申请将发生在中国,这项申报和相应临床结果都值得期待。
SKYSCRAPER-08 试验时光轴

截图来自:Insight 数据库
多说一点
1、石药、中国生物制药、复宏汉霖…半年报发布
8 月 23 日,石药集团公布了 2023 上半年业绩情况。截至 6 月 30 日,收入总额 160.80 亿元,同比增长 3.0%;其中成药业务收入 129.34 亿元(+5.2%)。研发费用增长 22.3% 达到 23.04 亿元,占总营收 17.8%;销售及分销费用则减少 9.4%,为 49.02 亿元。
分治疗领域而论,神经和肿瘤是石药集团成药业务中最关键的两大领域。上半年以恩必普为扛把子产品的神经系统领域销售收入继续增长 17.5% 达到 45.53 亿元,而肿瘤领域则有较大下滑,降低 26% 实现 29.88 亿元收入。
8 月 25 日,中国生物制药发布上半年业绩。期间内收入 152.7704 亿元,同比增长 0.5%;其中二季度收入 86.3145 亿元,同比增长 30%。
创新药收入上半年实现 38.6 亿元,同比增长 10.9%,占到集团营收的 25.3%。中国生物制药表示,目前该公司 5 亿元以上年收入规模的仿制药(剔除独家产品)均已进入集采,集采风险已出清。
同样在 8 月 25 日,复宏汉霖发布 2023 年度中期业绩,于业绩期内实现净利润约人民币 2.4 亿元,营业收入约人民币 25.005 亿元,较去年同期增长约 93.9%。
业绩的大幅增长主要源于核心产品销售收入的持续增长,汉曲优®(曲妥珠单抗,欧洲商品名:Zercepasc®,澳大利亚商品名:Tuzucip®和 Trastucip®)实现销售收入 12.767 亿元,汉斯状®(斯鲁利单抗)实现销售收入约 5.563 亿元。
2、NMPA 官宣:《药品附条件批准上市申请审评审批工作程序修订稿》开始征求意见!有哪些重点?
8 月 25 日,药监局发布了《药品附条件批准上市申请审评审批工作程序(试行)(修订稿征求意见稿)》,向社会公开征求意见,截至 9 月 25 日。
在 2020 年 7 月初,《药品附条件批准上市审评审批工作程序(试行)》文件随同《突破性治疗药物审评工作程序(试行)》、《药品上市许可优先审评审批工作程序(试行)》三个文件一同发布。
本次对附条件批准上市审评审批程序的修订,主要增补细化了附条件申请时确证性研究的必须进度、完成时限、试验过程中研究方案的修订、转常规批准的药品注册证书有效时限等等,更加强调以临床价值为导向,与国际接轨。

截图来自:NMPA 官网
3、第九批集采开始报量!品种清单流出(附竞争格局)
8 月 24 日,第九批国采报量消息传出。网传文件共涉及 44 个品种 195 个品规,其品种清单如下(注:信息供参考,集采详情以后续官方公布为准):

