2021 年中国创新药的 10 个「首款」
2021 年匆匆而过。在刚刚过去的 2021 年,我们见证和经历着医药行业的许多变化:
审批上,NMPA 批准 70 + 款新药再创新高,包括首款 CAR-T 疗法、首款国产 ADC 等里程碑式产品;
政策上,国家集采又进行了三个轮次,胰岛素打响生物制品集采的第一枪;医保谈判常态化又一年,67 款目录外新药新进入医保目录,2022 年 1 月 1 日已经落地执行;CDE 发布《以临床价值为导向的抗肿瘤药物临床研发指导原则》征求意见稿,带动 CRO、创新药企行业剧烈动荡……
2022 年开年,Insight 基于过去一年的报道,从新药审批和新靶点申报两个角度为大家盘点 2021 年国内创新药的一众「首款」。篇幅有限,内容基于数据库及既往报道,缺漏之处欢迎在评论区补充。
审批首突破:CAR-T、ADC、免疫疗法
1、国内首款 CAR-T 疗法
2021 年,CAR-T 细胞疗法在国内的首次获批无疑是最令人瞩目的突破之一。复星凯特和药明巨诺的 CAR-T 产品先后上市,标志着我国的 CAR-T 疗法终于进入商业化时代。自 2017 年首款 CAR-T 在美国获批,如今中国患者终于能够在国内接受这一创新治疗方式。而在大众关注的价格上,120 万和 129 万元/针的价格虽高,相较于国外 200-300 万元的价格,相信药企也已经给出了很大程度的诚意。
在国内,CAR-T 疗法受到企业和资本热捧,全球 CAR-T 项目中,超过半数在中国,一度引起临床患者不足、商业价值能否兑现的担忧。不过据 Insight 数据库观察,国内企业在 CAR-T 赛道上尽管仍避免不了在 CD19、BCMA 这样的靶点上扎堆的问题,也不乏亮点。
针对实体瘤的 CAR-T 开发中,科济药业是当中翘楚,靶向 Claudin18.2 的 CAR-T 疗法 CT041 已经进入 II 期临床,针对胰腺癌和胃食管交界处癌;靶向 GPC3 的 CAR-T 疗法 CT011 也已经进入了 I 期临床阶段。2021 年 11 月,CT041 成为了首个获欧洲优先药物资格认定的 CAR-T 产品。
传奇生物也在 10 月份的研发日中披露了在实体瘤 CAR-T 疗法、异体 CAR-T 疗法、异体 CAR-NK 疗法的广泛布局。南京驯鹿则在 9 月 15 日启动了国内首款 CD19/CD22 双靶点 CAR-T(研发代号:CT120)的临床试验。更多临床/临床前阶段细胞疗法企业仍在蓄力,相信后续在企业开发出真正具有突破性临床优势的新药,满足仍待满足的医疗需求,为患者带来获益,商业化上也必然能取得成功。
国内主攻细胞疗法的企业

来自:Insight 数据库企业分析(http://db.dxy.cn/v5/home/)
筛选原则:新药项目≥10、且 CAR-T+CAR-NK+TCR-T 细胞疗法项目在管线中占比超 80%;纳入临床前项目。
2、国产首款 ADC 新药
对于中国而言,2021 年 ADC 领域也取得了不俗的突破。3 月,荣昌生物的维迪西妥单抗获批上市,成为了国产首款 ADC 新药,突破了 ADC 领域只有进口药的局面;乘医保谈判常态化东风,维迪西妥单抗在年末也顺利通过谈判进入了医保目录,1 月 1 日已经落地生效,明年放量可期,成绩值得期待。
不光斩获了「首款」,维迪西妥单抗还与国外 ADC 巨头 Seagen 公司达成了 26 亿美元合作,成功实现出海,这一单品交易总额不光在当时刷新国内记录,目前也仍是国内 License-out Top3。
2021 年国内新药单品 License-out Top3

Insight 数据库整理
3、国产首款 PD-L1 单抗、国内首款 CTLA-4 单抗……
免疫疗法领域,2021 年 PD-1 的疯狂内卷显然是大家从年初谈到年尾的热门话题。不过,论及「首次」突破,当属 PD-L1 和 CTLA-4。
尽管 PD-L1 产品国内已有两款进口产品获批,但直到 2021 年下半年,我们才终于迎来了国产首款 PD-L1 单抗。康宁杰瑞/思路迪合作的恩沃利单抗,「首款」光环不仅体现在国内,还体现在全球,因为它是全球首款皮下注射 PD-L1,在患者依从性方面具有独一无二的优势,将数小时的静注给药转变为以分秒计的皮下给药,可实现居家自行注射。
康方生物 PD-1/CTLA-4 双抗卡度尼利单抗在 2021 年 9 月申报上市并纳入优先审评审批,是国产首款申报上市的双抗药物,也是全球首款申报上市的基于 PD-1 的双抗药物,有望在今年年末或明年年初获批。同领域主要竞争对手则是康宁杰瑞的 PD-L1/CTLA-4 双抗 KN046,也已经进展至临床 III 期。
百时美施贵宝的 CTLA-4 单抗伊匹木单抗也在 2021 年在国内首次获批进口,联合其 PD-1 王牌产品纳武利尤单抗(Opdivo)用于恶性胸膜间皮瘤。O+Y 联合疗法免疫双子星可谓是大名鼎鼎,已经被应用到多个癌种的治疗中,包括:黑色素瘤(一线)、肾细胞癌(一线)、高度微卫星不稳定(MSI-H)结直肠癌(二线)、肝细胞癌(二线)、NSCLC(一线)、恶性胸膜间皮瘤(一线)。
同时 CTLA-4 领域,国内四大 PD-1 先行者都布局了这一靶点,恒瑞、百济选择引进,前者引进基石的生物类似药,后者引进国外公司 BioAtlas 的条件性激活 CTLA-4 单抗;信达自主开发伊匹木单抗生物类似药 IBI310,是国内企业同靶点开发进度最快的一家;君实则选择自主研发 CTLA-4 单抗 1 类新药,JS007 在 2021 年 8 月份刚刚进 I 期临床。
新靶点国内首突破
2021 年,多个靶点在中国实现了从无到有的突破。
1、国内首款 CD70 单抗
6 月 11 日,百济神州的 CD70 单抗 SEA-CD70 获批临床,用于复发/难治性骨髓增生异常综合征和急性髓系白血病。当时国内尚无其他企业将 CD70 单抗推入临床开发,百济即为国内首家;而目前也暂未有第二家企业申报 CD70 单抗。
不过,日前浙江医药申报了 CD70 ADC 药物 ARX305,据 Insight 数据库,国内进入临床开发的 CD70 靶点新药除了以上两款之外,只有精准生物的 BCMA/CD70 双靶点 CAR-T 疗法 C-4-29。
CD70 是高表达于某些肿瘤细胞表面的一种跨膜蛋白,是肿瘤靶向和免疫治疗的良好靶点。CD70 在血源性肿瘤中表达量较高,如霍奇金淋巴瘤、非霍奇金淋巴瘤、白血病以及华氏巨球蛋白血症;在非血源性肿瘤中,CD70 在鼻咽癌、胸腺瘤、肾母细胞瘤、胶质母细胞瘤、星形细胞瘤以及卵巢癌等肿瘤中也发生高表达,其中尤以肾癌为著。
百济的 CD70 单抗是 2019 年 11 月与 Seagen 合作获得的一款产品。根据合作条款,百济神州获得在亚洲(除日本以外)以及除美欧日以外世界其他国家的独家开发与商业化权利,而 Seagen 获得授权许可首付款,并有资格获得至多 1.6 亿美元的取决于进展的里程碑付款以及任何产品销售的分级特许使用费。
2、国内首款 CD39
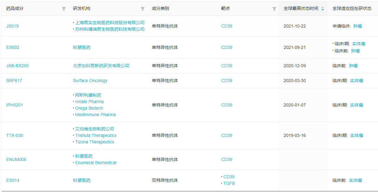
12 月 28 日,君实生物 CD39 单抗 JS019 获批临床。这款新药项目由君实与北京恩瑞尼共同投资的苏州科博瑞君申报。这是国内首款获批临床的 CD39 单抗。
CD39 为负责在肿瘤微环境中将免疫刺激性细胞外三磷酸腺苷(ATP)转化为免疫抑制腺苷(ADO)的初始步骤的酶,在肿瘤微环境免疫抑制反应中扮演着重要角色。研究表明,CD39 在各种人类肿瘤中均呈现高表达现象,包括淋巴瘤、肉瘤、肺癌、胰腺癌、卵巢癌、肾细胞癌、甲状腺癌和睾丸癌等。
除君实外,国内科望生物也在开发 CD39 单抗,ES002 已经在 2021 年 9 月份获 FDA 批准临床,国内尚未申报。科望还有一款 CD39/TGFβ 双抗 ES014。加科思同样有一款临床前项目 JAB-BX200。据 Insight 全球新药库,目前全球范围内仅 8 家企业研发 CD39 单抗,均处于早期临床。
靶向 CD39 的新药

来自 Insight 数据库(http://db.dxy.cn/v5/home/)
3、国内首款 IL-21 融合蛋白
8 月 31 日,君实生物 IL21 融合蛋白 JS014 获批临床;12 月 8 日 JS014 首次在国内启动临床,联合特瑞普利单抗治疗肿瘤。这是国内首款也是唯一一款靶向 IL21 靶点的新药。

来自 Insight 数据库(http://db.dxy.cn/v5/home/)
JS014(AWT008)是君实与 Awita 公司合作而引进的一款产品。在该项交易中,君实以 200 万美元 + 最高不超过 6450 万美元的研发里程碑付款 + 个位数百分比的销售提成获得了 JS014 在大中华区(包括中国大陆、香港特别行政区、澳门特别行政区及台湾地区)开发及商业化权益。
JS014 高亲和力特异性地结合人 IL-21R 并激活淋巴细胞,通过融合抗 HSA 的单域抗体使 IL-21 的半衰期得到显著延长,以提高药物在肿瘤微环境中的分布,增强肿瘤微环境中浸润淋巴细胞的活性,进而增强免疫系统杀伤肿瘤细胞的能力。
目前,国内尚无第二款同靶点药物进入临床。而在全球亦只有 5 款。两款单抗 ATR-107(PF-05230900)和 avizakimab( BOS161721)分别处于临床 I 期和 II 期阶段;安进的 AMG256 为 PD-1/IL21 双功能融合蛋白,已经启动 1 项 I 期临床。
4、国内首款 SIRPα 抗体
11 月 22 日,信达生物新型抗 SIRPα 抗体 IBI397(Alector 研发代号:AL008)获批临床。这是信达在 2020 年 3 月与 Alector, Inc. 达成合作引进的产品,信达拥有中国区(包括港澳台地区)的开发和商业化权益。
CD47-SIRPα 通路是血液恶性肿瘤中的关键免疫检查点。CD47 在各种类型的癌细胞中过表达,可直接与表达于巨噬细胞上的 SIRPα 结合,传递了「别吃我」的信号,阻止癌细胞的免疫清除。因此,CD47 成为抗癌药研发的重要靶标。然而由于 CD47 还表达于红细胞表面,靶向 CD47 的抗癌药在杀伤癌细胞的同时也遇到误伤红细胞的问题。而靶向 SIRPα 则是避免该问题的途径之一。
CD47 表达的调节机制

https://doi.org/10.1016/j.tranon.2020.100862
信达的 IBI397 是一款具有独特双机理的首创 SIRP-alpha 抑制剂,具有差异化机制。一方面,IBI397 并非直接阻断 SIRP-alpha 与 CD47 的结合,而是通过刺激巨噬细胞上的 SIRP-alpha 内吞和降解来降低 SIRP-alpha/CD47 通路信号,解除免疫抑制;另一方面,IBI397 的 Fc 端可以结合激活型的 Fc gamma 受体来进一步提高肿瘤免疫反应,达到抑制肿瘤目的。
在抗癌新药的开发中,CD47-SIRPα 通路备受瞩目。国内布局 CD47 者众,然而 SIRPα 抗体开发者则仅信达一家。信达也是国内企业在这一通路上布局最为全面的企业,拥有 3 款产品:CD47 单抗 letaplimab(IBI188)、CD47/PD-L1 双抗 IBI322,以及 IBI397。
5、国内首款 MUC1 ADC
6 月 28 日,多禧生物靶向 Muc1 的 ADC 获批临床。这是 MUC1 靶点国内首款 ADC 药物,用于晚期实体瘤。
Mucin1 (MUC1) 是一种高度糖基化的跨膜蛋白,在正常上皮细胞的润滑和保护中起着至关重要的作用。然而,MUC1 也在多种人类上皮恶性肿瘤中过度表达,包括乳腺癌、前列腺癌、卵巢癌、胰腺癌和结肠癌,以及多发性骨髓瘤的恶性浆细胞中。过表达 MUC1 的细胞失去极性,且 MUC1 异常分布在癌细胞的整个表面。因此,该靶点已成为癌症治疗的潜在靶点。
据 Insight 数据库统计,尽管目前国内仍然只有多禧生物一家 MUC1 ADC 新药进入到临床开发阶段,今年 4 月,齐鲁制药也引进韩国 Peptron 公司候选产品 PAb001-ADC,该产品也是靶向 MUC1 的 ADC 药物。
除上述提及之外,2021 年还有不少其他靶点同样在国内迎来了首款新药的临床申报,包括 海思科申报的首款 DPP1 抑制剂、南京驯鹿申报首款 CD19/CD20 双靶点 CAR-T 等等,同时还有多款 PROTAC 申报并进入临床,其中开拓药业的 AR 靶向 PROTAC 在国内同样也是首款。篇幅有限,在此不再一一展开。
